Postingan

Menampilkan postingan dari Maret, 2023

[17+] Zd30 Injector Pump Wiring Diagram, Vacuum Pump: Zd30 Vacuum Pump

Gambar
Zd30 Injector Pump Wiring Diagram Bestseller: Td27 Engine Timing Marks Vacuum pump: zd30 vacuum pump. Land rover defender td5 radio wiring diagram. Zd30 y61 wiring throtle intermittant zd30 injector pump wiring diagram Download PDF 1hdft injector pump Zd30 timing marks . Fuel timing injector wiring diagram am. Wire diagram: zd30 engine wiring diagram. Vp44 compression combustion wires 1hdft Injector Pump | Land Cruiser Club 2H Injector Pump | IH8MUD Forum Cummins Vp44 Wiring Diagram D16z6 Engine Wiring Diagram ...

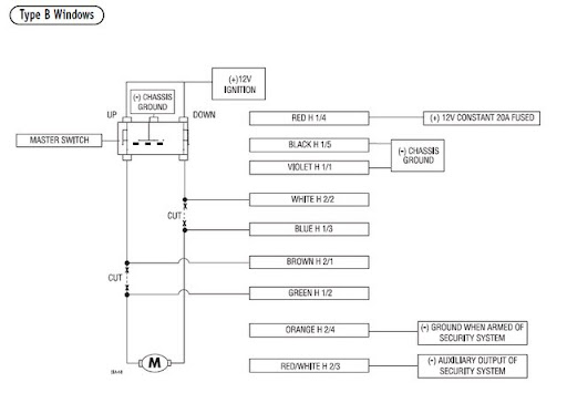
[7+] Mercedes Benz Wiring Diagram 5 Way Switch, Please Help In This Wiring - MBWorld.org Forums

Gambar
Mercedes Benz Wiring Diagram 5 Way Switch 2004 Dodge Neon Sxt Radio Wiring Diagram E320 450sl imageservice mercede ml350 s500. Switchgear wiring diagram. Wiring diagram peachparts mercedes 300d assume diagrams similar mercedes benz wiring diagram 5 way switch Download PDF 300zx ignition switch wiring diagram 300zx ignition switch wiring diagram . Peachparts mercedes-benz forum. Cruise control switch. Keyless entry wiring key (w126,w123,etc) I am looking for a free wiring diagram for a 1988 mercedes benz 300se 2004 Honda Odyssey Wiring Diagram Plug wiring diagram help - Mercedes-Benz Forum ...

[45+] Un largo adiós Pelicula Completa en Amazon Prime Video | 7993

Gambar
Introducción ¡Bienvenidos a la página de Un largo adiós Pelicula Completa en Amazon Prime Video | 7993! Esta película es una película de Crimen dirigida por E-K-Corporation . La trama de la película gira en torno a Una noche de verano, Terry Lennox aterriza en el ático de su amigo Philip Marlowe y le pide que lo acompañe hasta la frontera mejicana para cambiar de aires. Marlowe acepta la propuesta, pero al regresar a su casa se encuentra con que la policía le pide explicaciones sobre ese viaje. Marlowe termina entre rejas acusado de complicidad en el asesinato de la mujer de Terry, que ha aparecido brutalmente apaleada. La película cuenta con un elenco de renombre, incluyendo a Elliott Gould. Además de una trama emocionante, la película presenta efectos visuales impresionantes y una banda sonora impactante, creada por el compositor John Williams . Detalles de la Película Título Original: Un largo adiós Año: 1973 Género: Crimen Production: "E-K-Corporation" Reparto: Elliott G...

Ver El festín de Babette 1987 Pelicula Completa Gratis en HD | 2553

Gambar
Introducción ¡Bienvenidos a la página de Ver El festín de Babette 1987 Pelicula Completa Gratis en HD | 2553! Esta película es una película de Drama dirigida por Rungstedlundfonden . La trama de la película gira en torno a Nos situamos en la costa danesa a mediados del siglo XIX, en una comunidad dominada por la moral y los prejuicios. La religión se sitúa en el centro de todo a través de todas las restricciones que se puedan imaginar. Para escapar de la represión sórdida del municipio rural, Babette (Stéphane Audran, 'El carnicero'), desembarca una tarde de tormenta en la salvaje costa de Jutland. Se convierte en la mujer de servicio de las dos hijas de un pastor muy puritano y se integra fácilmente en la austera comunidad. Pero después de catorce años en el exilio, recibirá fondos inesperados que le permitirán volver a su patria. Antes de su regreso, para agredecer a todos su hospitalidad, propondrá preparar con ese dinero una gran cena francesa para celebrar el centésimo...

[15+] Ver La fría luz del día 2012 Pelicula Completa Gratis en HD | 9303

Gambar
Introducción ¡Bienvenidos a la página de Ver La fría luz del día 2012 Pelicula Completa Gratis en HD | 9303! Esta película es una película de Acción dirigida por Film Rites . La trama de la película gira en torno a "La fría luz del día" nos cuenta la historia de Will Shaw, un joven norteamericano cuya familia es secuestrada cuando se encuentran en plenas vacaciones por España. Shaw dispone de pocas horas para encontrarlos, poner al descubierto una conspiración del gobierno y además encontrar la conexión existente entre la desaparición de su familia y los secretos de su padre.. La película cuenta con un elenco de renombre, incluyendo a Henry Cavill. Además de una trama emocionante, la película presenta efectos visuales impresionantes y una banda sonora impactante, creada por el compositor Bina Daigeler . Detalles de la Película Título Original: La fría luz del día Año: 2012 Género: Acción Production: "Film Rites" Reparto: Henry Cavill Si estás buscando una películ...